点胶机|焊台|万用表|集尘机|TRUSCO

400电话
当前位置: 首页 >热风嘴 >产品详细介绍页
品牌名称

德国威乐(WELLER)

323

0

产品分类
友情链接

热风嘴

  • 热风嘴
  • Q10
  • 德国威乐(WELLER)
  • 1
  • 拍摄、编辑和美化您的高清杰作,然后将它们与世界分享。
  • 已有75人浏览
  • 4.0(已有0人评价)
  • 0
  • 购买数量: 购买中...

产品详细介绍

一、德国威乐(weller) Q型热风咀系列特点

耐高温,寿命长

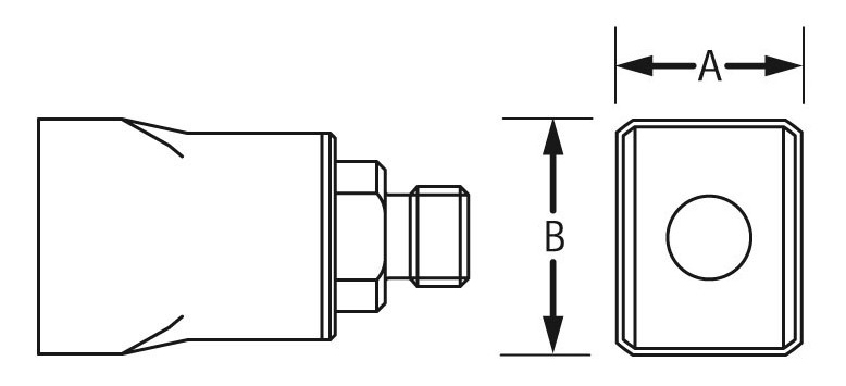
二、 德国威乐(weller)Q型热风咀规格

型号

描述

长度

宽度

Q02

热风嘴,四边加热,带预热板

6.0mm

6.5mm

Q04

热风嘴,四边加热,带预热板

6.0mm

9.0mm

Q06

热风嘴,四边加热,带预热板

15.0mm

10.0,mm

Q08

热风嘴,四边加热,带预热板

12.5mm

15.0mm

SK709

热风嘴,四边加热,带预热板

12.0mm

12.0mm

Q10

热风嘴,四边加热,带预热板

18.0mm

18.0mm

R01

热风嘴,四边加热,带预热板

0.5mm

 

三、德国威乐(weller) Q型热风咀用途

用于HAP1和HAP200四边加热